关于乡村振兴农业项目库申报的通知



巴南农业发〔2021〕125号


关于乡村振兴农业项目库申报的通知
各镇人民政府、街道办事处:
为推进我区乡村振兴战略顺利实施,根据重庆市改进市级财政支农资金投入使用方式相关要求,贯彻区委、区政府工作部署,结合我区农业农村产业发展情况,按照《关于加强农业项目管理的通知》(巴南农业发〔2020〕108号)分类建立乡村振兴项目库(简称项目库),乡村振兴项目按照区政府规定的资金安排相关程序在项目库中优选安排。现就申报安排类项目有关要求通知如下:
一、项目库支持方向
紧扣乡村振兴、质量兴农、巩固拓展脱贫攻坚成果、绿色发展、城乡融合、产能提升及扩大农业农村有效投资的要求,主要支持方向如下:
(一)农业产业化重点项目。支持主导农业产业发展,按精品果蔬、特色粮油、生态渔业、品牌茶叶等四大支柱产业分类,其中水果、渔业、茶叶以原有产业提质增效为主,推进我区农业产业发展。
(二)支持质量兴农。突出产业兴旺和联农增收机制两大任务,加大品种品质品牌建设支持力度,优先支持绿色生态效益明显的项目,推进我区农业产业高质量发展。
(三)支持产业扶贫。通过项目实施主体构建与脱贫户之间的利益共享、风险共担的联结机制,实现脱贫户长期稳定增收的项目优先支持。
(四)支持农业农村改革类项目。结合城乡融合发展,在集体产权制度改革等基础上,支持农业新型经营主体、集体经济组织等参与农业农村各类改革类项目,建立与农户紧密利益联结,继续推进涉农资金股权化改革,探索三变改革实施方式、探索生态价值实现机制等。
二、项目库入库条件
(一)申报主体包括各镇街、村集体经济组织(村民委员会)、农业企业、种养殖业大户、家庭农场和农民合作社等。其中农业企业、农民合作社依法在巴南区登记注册,家庭农场、专业大户需通过区农业农村委认定;
(二)产业发展符合国家政策,项目涉及用地应合法、环保达到相关要求;
(三)具有完成项目建设任务相应的自筹资金;
(四)纳入巴南区农业项目统计的项目;
(五)符合相应申报指南要求。
三、项目库负面清单
(一)申报主体有拖欠土地租金、农民工工资等行为;
(二)重复申报、多头申报、虚报申报等行为;
(三)申报主体近三年有使用国家禁止使用的农(兽)药等不符合农产品质量安全要求的处罚记录;
(四)在重度污染区内种植食用农产品的项目;
(五)对土壤和水生态环境造成损害的项目;
(六)在禁养区内从事畜禽养殖和水产养殖的项目。
(七)2021年以来占用基本农田从事非粮生产经营的项目。
各镇街在组织项目申报时,涉及此类事项的农业项目审核不予通过。
四、项目库主要类别
(一)主导产业项目:主要支持“茶叶、果蔬、渔业、粮油”产业。具体包括基础设施建设、施肥改土、水质处理、标准化生产、集中联片的农田项目区的农田配套(种苗、种子、有机肥)等;
(二)农田水利类项目:高标准农田建设以及高效节水灌溉等。
(三)农业机械化和农机装备产业转型升级类项目:重点用于农田宜机化,购买“大中型、高效率、高性能”农业机械、加工关键环节机械化设备以及配套的冻库、烘干房、储存库、停机库、维修车间等。
(四)巴南现代农业产业园重点建设项目:由项目所在镇街推荐,产业园建设专班审定后报送入库。
五、申报要求
由各镇街组织辖区范围内组织申报主体申报,经审核符合申报要求的项目,按照通知分类报送项目。
(一)自筹资金
补助资金按照产业发展规模、结合补助环节申请,原则上农业企业自筹资金不低于申请补助资金,农民专业合作社、家庭农场、专业大户自筹资金不低于财政补助资金的50%,村集体经济组织、镇街组织实施的项目不要求自筹,申报指南有明确要求的以申报指南为准。
(二)股权化改革
新型经营主体类按照中共重庆市巴南区委全面深化改革委员会农业农村改革专项小组关于转发《中共重庆市委全面深化改革委员会农业农村改革专项小组办公室〈关于调整农业项目财政补助资金股权化改革方案有关内容〉的通知》的通知要求,各级财政采取直接补助方式支持农业企业、农民专业合作社等新型农业经营主体的农业产业发展项目资金,单个项目补助30万元以上(含)的原则上纳入改革(附件27)。
(三)申报时间
请各镇街于2021年10月22日前,申报材料纸质件1份(以正式文件报送,并附巴南区农业项目申报汇总表附件29)报送区农业农村委810室(向波收),电子件传至邮箱2660560861@qq.com。其他资料按照申报指南要求报送。逾期或未按要求报送,视为自动放弃本次项目申报。
附件:1.扶持发展村级集体经济建设项目补助入库申报指南
2.农民专业合作社示范社建设项目补助入库申报指南
3.家庭农场专业大户建设项目补助入库申报指南
4.2022年幼龄果园管护项目申报指南
5.老果园提升建设项目指南
6.优质蔬菜基地建设项目申报指南
7.茶叶加工能力提升建设项目申报指南
8.规范化良种茶园建设项目申报指南
9.2022年乡村振兴项目(生态渔业项目)申报指南
10.幼龄果园种植春大豆项目申报指南
11.巴南现代农业产业园主导产业项目申报指南
12.农业机械化和农机装备产业转型升级项目申报指南
13.农田宜机化项目申报指南
14.村级电商站点申报指南
15.智慧农业项目申报指南
16.关于高标准农田建设项目申报指南
17.智慧猪场项目申报指南
18.畜禽规模养殖场粪污处理设施改造升级项目申报指南
19.祖代猪场引种补贴项目申报指南
20.巴南区2022年生态循环农业试点项目
21.巴南区村级监管示范点项目申报指南
22.巴南区镇街农产品质量安全监管站提档升级项目申报指南
23.种粮经营主体培育项目申报指南
24.巩固脱贫成果项目申报指南
25.关于申报项目策划前期经费和乡村振兴农业项目审计所需费用的通知
26.全域全要素村规划申报指南
27.中共重庆市委全面深化改革委员会农业农村改革专项小组办公室《关于调整农业项目财政补助资金股权化改革方案有关内容》的通知
28.项目建议书一般格式
29.巴南区农业项目库申报汇总表
重庆市巴南区农业农村委员会 重庆市巴南区财政局
2021年10月8日
(区农业农村委联系人:张林,电话:66210455;
区财政局联系人:张义其,电话:66221009)
附件1
扶持发展村级集体经济建设项目补助
入库申报指南
总体目标
根据重庆市巴南区人民政府办公室《关于印发巴南区发展壮大村级集体经济的实施意见的通知》(巴南府办发〔2020〕21号)要求,为提高村级集体经济收入,增强全区村级集体经济整体实力。到2023年,全区100%以上的村集体年经营性收入达到5万元以上。
申报主体
巴南区所有村村民委员会,经济薄弱村优先。
申报条件
村集体有闲置的集体资产、资源,有健全的集体经济管理制度,有集体经济发展的领头人,有切实可行的发展思路和办法。
项目建设内容与支持环节
1.盘活村集体资产、资源。利用村集体现有资产、资源,经项目建设、资金投入进行盘活利用,变为村集体经营性资产。项目建成后通过出租或合作联营等形式获取收益,增加集体收入。
2.发展农业生产社会化服务。村单独或与其他村联合扶持或新成立农业生产社会化服务队伍。经项目购置农业机具,进行农业生产社会化服务,通过农业机具出租获取收益。
3.鼓励与多种改革集成。村集体申报项目可与农村“三变”改革、城乡融合试点改革等集成,整合各类改革项目资金,集中力量办大事。
五、项目资金
项目资金根据实际需要确定,每个村最高申报补助资金不超过30万元,实行先建后补。
其他要求
镇街通过审核后上报区农业农村委,按规定程序审定入库。项目建议书纸质件及汇总表各1份,交区农经站210室,电子件发送至邮箱bnnjz@163.com。逾期或未按要求报送,视为自动放弃本次项目入库申报。
联系人:穆斌,联系电话:13627699278。
附件
|
巴南区2020年集体经济薄弱村名单 | |||
|
镇街 |
数量 |
村 名 |
备注 |
|
龙洲湾街道 |
1 |
红炉村 |
|
|
南彭街道 |
7 |
断桥村、高碑村、塔落村、清风村、将军弯村、水竹村、鸳鸯村 |
|
|
木洞镇 |
4 |
杨家洞村、松子村、桃花岛村、中坝村 |
|
|
丰盛镇 |
6 |
街村村、桥上村、石家村、梨坪村、桥湾村、王家村 |
|
|
东泉镇 |
10 |
锡滩村、双星村、梨树村、碾砣村、新楼村、朝阳村、红峰村、玉滩村、小桥村、河岸村 |
|
|
姜家镇 |
6 |
文石村、水源村、河面坝村、白云山村、槐园村、平原村 |
|
|
接龙镇 |
12 |
新槐村、碑垭村、桥边村、河嘴村、新湾村、桂兴村、石磅村、中山村、荷花村、青山村、柴坝村、塘边村 |
|
|
石滩镇 |
3 |
方斗村、双寨村、天台村 |
|
|
一品街道 |
5 |
永益村、四桥村、燕云村、七田村、乐瑶村 |
|
|
圣灯山镇 |
5 |
大佛村、大沟村、两河村、滩子口村、沿滩村 |
|
|
安澜镇 |
10 |
小龙村、永寿村、棋盘村、顶山村、巴联村、柑子村、楒林村、坝上村、湾湾村、五通村 |
|
|
合计 |
69 |
||
附件2
农民专业合作社示范社建设项目补助
入库申报指南
一、总体目标
引导全区农民专业合作社争创示范社,促进合作社规范化建设,增加服务能力,提高合作社经营能力和经营效益,增加成员收入,提高合作社示范带动能力,推动全区农民专业合作社规范发展。
二、申报主体
被评定为区级及以上的农民合作社示范社。
三、补助资金标准用途
(一)补助标准
国家级示范社最高补助30万元;市级示范社最高补助20万元;区级示范社最高补助10万元。
补助用途
1.基础设施建设。用于合作社生产大棚、生产便道等基础设施建设,改善生产条件。
2.设备购置。用于合作社开展农产品加工、农业生产社会化服务、贮藏、冷链运输等设备购置。拓展合作社服务渠道,增强服务能力。
3.品牌打造。用于合作社农产品包装制作、农产品展销。
4.新产品新技术推广应用。用于合作社新产品新技术的应用推广,购买专家技术服务等。
社会化服务、技术服务支撑,项目申请资金量原则上与合作社生产面积挂钩我。
四、其他要求
镇街通过审核后上报区农业农村委,按规定程序审定入库。项目建议书纸质件及汇总表各1份,交区农经站206室,电子件发送至邮箱123523091@qq.com。逾期或未按要求报送,视为自动放弃。
联系人:杨双瑜,联系电话:18725981595。
附件3
家庭农场专业大户建设项目补助
入库申报指南
一、总体目标
引导家庭农场专业大户争创示范场示范户,帮助家庭农场专业大户解决生产经营中的主要困难,提高家庭农场专业大户生产经营能力盈利水平,打造家庭农场发展亮点,起到示范引导作用,推动全区家庭农场专业大户发展。
二、申报主体
被评定为区级及以上示范家庭农场、示范专业大户;经区农业农村委认定的家庭农场、专业大户。
三、补助资金标准用途
(一)补助标准
市级示范家庭农场最高补助15万元;区级示范家庭农场、示范专业大户最高补助10万元;经认定的家庭农场、专业大户最高补助5万元。
(二)补助用途
1.基础设施建设。用于家庭农场、专业大户生产大棚、生产便道等基础设施建设,改善生产条件。
2.设备购置。用于家庭农场、专业大户开展农产品初加工、农业生产社会化服务、贮藏、冷链运输等设备购置。
3.品牌打造。用于家庭农场、专业大户农产品包装制作、农产品展销。
4.新产品新技术推广应用。用于家庭农场、专业大户新产品新技术的应用推广,购买专家技术服务等。
社会化服务、技术服务支撑,项目申请资金原则上与合作社生产面积挂钩。
四、其他要求
镇街通过审核后上报区农业农村委,按规定程序审定入库。项目建议书纸质件及汇总表各1份,交区农经站206室,电子件发送至邮箱123523091@qq.com。逾期或未按要求报送,视为自动放弃。
联系人:杨双瑜,联系电话:18725981595。
附件4
2022年幼龄果园管护项目申报指南
一、申报主体条件
申报主体为各镇街、村集体经济组织(村民委员会),其中已经他人承包的镇街、村集体果园不纳入补助范围。
二、果园建设时间
于2019年至2021年(2022年2月底前定植的)定植果苗的果园,种植面积达30亩以上,且集中成片。
三、项目补助内容
(一)果苗田间管护所用肥料、农药、小型农机、粘虫板、防草地布、拉枝整形辅材、绿肥种子等的购置。大力提倡使用牲畜粪、生物有机肥、生物农药等。
(二)果园水肥药一体化系统运行及维护管理;
(三)果园管理所用人工费用。
四、项目补助资金
每亩幼龄果园管护定额补助600元。
五、项目其他要求
(一)申报主体在申报材料中务必明确果园的经营管理模式。
(二)确定项目绩效目标,如两年生果园管护目标:树形骨干架基本形成,枝条老化成熟度达70%以上,芽眼饱满,具备初投产能力。三年生果园管护目标:树形成型,每一主枝上不少于2个侧枝,投产植株数量占到60%以上,形成一定产量和收益。
(三)阐明集体果园与农户之间的利益联结机制。
六、材料报送要求
各申报主体将项目申报建议书报镇街农服中心,由各镇街汇总并审核后将本镇街项目建议书纸质件及汇总表各1份报送至区经济作物站徐波收,地址:重庆市巴南区鱼洞街道巴县大道23号,电子件传至邮箱849908735@qq.com。逾期或未按要求报送,视为自动放弃本次项目申报。
联系人:徐波,联系电话:66211051,13996142742。
附件5
老果园提升建设项目指南
一、申报主体条件。在巴南区登记注册的农业企业、农民专业合作社,经认定的家庭农场、专业大户,及村集体经济组织(村委会)。
二、申报要求。定植后5年未投产的幼龄果园和产量低、品质差的成年果园(定植8年以上)。果园集中成片,面积不低于150亩。
三、项目内容。⑴高接换种。⑵果园土壤改造,增施有机肥,行间种植绿肥;密植果园间筏、衰老树更新修剪,病虫防治;果园路、沟、凼、池配套基础设施。⑶水果采后清洗、分级、包装、低温冷藏等设施设备建设。⑷果园水、肥、药一体化设施建设。⑸老果园宜机化改造及机械化管理。
四、项目补助申报额度。⑴高接换种,每亩不超过900元。⑵果园土壤改造,增施有机肥,行间种植绿肥;密植果园间筏、衰老树更新修剪,病虫防治;果园路、沟、凼、池配套基础设施。每亩不超过3500元。⑶水果采后清洗、分级、包装、低温冷藏等设施(场地面积200平方米以上,合法用地手续)及设备建设。每个果园不超过50万元。⑷果园水、肥、药一体化设施建设。每亩不超过1500元(面积300亩以上的,每亩不超过1200元)。⑸老果园宜机化土壤改造及配套农机。每亩不超过3000元。
农业企业配套资金不低于申请补助资金,农民专业合作社、家庭农场、专业大户配套资金不低于申请补助资金的50%。集体经济组织(村委会)可不配套。
五、申报要求
各申报主体将项目申报建议书报镇街农服中心,由各镇街汇总后将本镇街项目建议书纸质件及汇总表各1份报送至区经济作物站徐波收,地址:重庆市巴南区鱼洞街道巴县大道23号,电子件传至邮箱849908735@qq.com。逾期或未按要求报送,视为自动放弃本次项目申报。
联系人:徐波,联系电话:66211051,13996142742。
附件6
优质蔬菜基地建设项目申报指南
一、申报主体基本条件
(一)依法登记注册或通过认定。农业企业、农民专业合作社必须是在巴南区行政区域内依法登记注册的独立法人单位,并具有健全的财务管理制度。家庭农场、专业大户必须是巴南区农村户籍,且通过主管部门认定。
(二)土地经营规模达到相应要求。土地经营规模100亩及以上的企业、专业合作社、村委会等;30亩及以上的家庭农场、专业大户。
(三)正常经营1年以上。农业企业、农民专业合作社,以工商执照登记的成立日期为参考依据,家庭农场、专业大户以通过主管部门认定日期为参考依据。
(四)具有完成项目任务必备条件。要有必备的人才条件、基本设施和配套资金,具有完成项目任务所需的组织管理和协调能力。
(五)无不良记录。未发现不良记录和没有区农委工程项目廉洁行为相互监督管理制度中规定的不良行为。
二、申报内容
(一)申报材料
1.巴南区2022年乡村振兴项目实施方案;
2.2022年乡村振兴重点项目汇总表;
3.家庭农场、专业大户必须提供巴南区农业农村委认证相关文件复印件;
4.专业合作社、农业企业必须提供工商登记注册的营业执照(复印件并加盖企业鲜章);
5.土地种植规模证明(土地流转合同等复印件);
6.农民工工资、土地流转租金支付情况由所在区域村出具证明。
(二)财政资金支持环节
主要用于蔬菜基地的提质增效和质量安全控制:推广应用符合绿色食品标准的农药等,优良品种种子种苗,推广应用凹凸棒矿物复合肥,调理剂及有机肥等物资,以增强抗病力、改善品质、提高种植效益和保供能力。
三、资金补助标准及配套
(一)补助标准:不超过1000元/亩。
(二)资金配套:专业大户、家庭农场、农民专业合作社的配套资金不少于补助金额的50%;农业企业配套资金不少于补助金额的100%;村集体不配套。
四、申报要求
各申报主体将项目实施方案报镇街,由各镇街汇总后将本镇街项目实施方案纸质件及汇总表各1份,巴南区经作站匡正权收,地址:重庆市巴南区鱼洞街道巴县大道23号,电子件传至邮箱515427148@qq.com。逾期或未按要求报送,视为自动放弃本次项目申报。
联系人:匡正权,联系电话:13452361487。
五、其他事项
(一)请实施主体按照文件要求认真编制项目实施方案,享受财政资金补助项目任务量、补助标准、补助金额和具体环节必须明确并细化量化,具体建设内容要有建设规范标准要求。
(二)新建项目实行“先建后补”,项目经验收合格、所需材料齐全后,由区财政局一次性拨付项目补助经费。
(三)严禁同一项目多头申报,严禁虚报建设内容,严禁擅自更改建设业主、建设地点和建设内容。原则上同一项目实施主体同一年度内不能重复享受财政补助资金。
(四)原建项目严禁作为新建项目抵作财政补助和自筹资金内容。一经发现将记入不守信业主并按照《巴南区农业农村委工程项目廉洁行为相互监督管理制度》处理。
(五)取得补助项目业主,要按照批复内容,加快建设进度、保证建设质量。
附件7
茶叶加工能力提升建设项目申报指南
一、项目总体目标
支持新建、扩建茶叶加工能力,支持改造、提升加工设施设备水平,推进茶叶加工产能合理布局,提高茶叶加工技术水平,促进茶叶产业优质高效发展。
二、申报主体条件
在巴南区登记注册的茶业企业、农民专业合作社,经认定的家庭农场、专业大户。
三、项目申报条件
有合规取得的可用于加工建设的土地,有可靠稳定的加工原料来源。
四、项目建设内容与支持环节
厂房建设,茶叶加工、贮藏、包装的设施、设备建设。
五、项目资金情况
茶业企业申请补助额度不超过60万元,配套资金不低于申请补助资金。农民专业合作社、家庭农场、专业大户申请补助额度不超过30万元,配套资金不低于申请补助资金的50%。
六、项目报送要求
各申报主体将项目实施方案报镇街,由各镇街汇总后将本镇街项目实施方案纸质件及汇总表各1份,巴南区经作站薛红收,地址:重庆市巴南区鱼洞街道巴县大道23号,电子件传至邮箱447431782@qq.com。同时按要求报送入库建议书,厂房建设项目需附报建设用地相关材料。逾期或未按要求报送,视为自动放弃本次项目申报。
联系人:薛红 ,联系电话:17783052831
附件8
规范化良种茶园建设项目申报指南
一、项目总体目标
通过该建(建议基本农田上不能新建)和老茶园改植换种建立规范化良种茶园,增加优质茶叶基地面积,提高茶叶生产水平,促进茶叶产业持续高效发展。
二、申报主体条件
在巴南区登记注册的农业企业、农民专业合作社,经认定的家庭农场、专业大户。有合规取得的可用于茶园建设的土地。
三、项目申报条件
农业企业、农民专业合作社改建、改植换种面积在50亩以上,家庭农场、专业大户新建、改植换种面积在20亩以上。
四、项目建设内容与支持环节
按标准化茶园建设技术规程开展建设。支持园地整理、施肥改土、茶苗购置、规范化定植。
五、项目资金情况
农业企业每亩申请补助不超过1400元,配套资金不低于申请补助资金。农民专业合作社、家庭农场、专业大户每亩申请补助不超过1800元,配套资金不低于申请补助资金的50%。
六、项目报送要求
各申报主体将项目实施方案报镇街,由各镇街汇总后将本镇街项目实施方案纸质件及汇总表各1份,巴南区经作站薛红收,地址:重庆市巴南区鱼洞街道巴县大道23号,电子件传至邮箱447431782@qq.com。同时按要求报送入库建议书,逾期或未按要求报送,视为自动放弃本次项目申报。
联系人:薛红 ,联系电话:17783052831
附件9
2022年乡村振兴项目(生态渔业项目)
申报指南
一、池塘养殖尾水治理示范项目
(一)项目建设目标
在2021年已建设的养殖尾水治理示范点的基础上,再建设一个池塘养殖面积100亩以上的养殖场开展养殖尾水治理示范点,尾水处理设施面积为养殖池塘面积的6%以上,开展总氮、总磷、氨氮、悬浮物、COD、BOD等重点养殖尾水指标情况监测工作,实现养殖尾水排放达到《淡水池塘养殖水排放要求》(SC/T9101-2007)要求。要严把项目实施质量关,尾水处理设施的建设方案应通过科学论证,尾水监测应委托有能力单位的开展;督促指导业主做好水产养殖“三项记录”和尾水排放情况记录,履行尾水治理主体责任,保障尾水治理设施正常运行,形成尾水治理效果评估报告,做好项目实施总结验收,确保示范效果明显。
(二)项目实施区域及建设内容
拟在全区单个养殖场100亩以上(且集中连片)、可配套尾水处理设施面积6亩以上的养殖场实施。
建设内容包括:生态沟渠、沉淀池、过滤坝、曝气池、生物净化池和其他尾水处理设施,或者具有相同处理效果的尾水处理设施;每个养殖场选择6个抽样点(包括:进水口、排水口上层、排水口下层、尾水处理单元前端、尾水处理单元末端、临近河道)抽样4次(每季度1次),开展总氮、总磷、氨氮、悬浮物、COD、BOD等重点养殖尾水指标情况监测工作;实现养殖尾水排放达到《淡水池塘养殖水排放要求》(SC/T9101-2007)要求。
(三)补助资金规模及使用方向
单个示范场申请补助资金规模控制在50万元以内,补助资金使用方向:示范基地尾水处理设施建设、养殖尾水监测、技术支撑费、宣传展示牌设计制作等方面。
二、池塘底排污生态化标准化改造项目
(一)项目建设目标
通过改造提高水产养殖尾水资源化利用率和尾水治理设施覆盖率,提升池塘生产能力,整体提升全区水产品品质,项目实施池塘实现尾水达标排放。所有养殖尾水直排河流水库的池塘在“十四五”期间全面建设。
(二)项目实施区域及建设内容
参照2020年镇街水面普查数据,原则上全区10亩以上专用养殖池塘均可以申报实施。建设内容:(1)池塘标准化改造:对池塘水浅、堤埂过低、淤泥过多和排水方式不合理等进行改造,加高加固鱼池堤埂、池壁,建设进排水系统,清除过多淤泥,减少养殖污水排放。(2)池塘底排污改造:排污口建设,抽插竖井建设,沉淀过滤池建设(固液分离池)和排污管道建设。
(三)补助资金规模及使用方向
全区计划建设池塘底排污生态化标准化改造项目1000亩,按养殖池塘面积计算,每亩补助0.25万元,共计250万元。补助资金使用方向:排污口建设,抽插竖井建设,沉淀过滤池建设(固液分离池)和排污管道建设等。
三、月亮湾生态鱼标准化生产示范项目
(一)项目建设目标
配合西南大学、重庆市水产技术推广总站、区水产站开展“月亮湾生态鱼瘦身养殖过程中品质指标变化规律研究与标准制定”、“月亮湾生态鱼瘦身养殖技术提升研究”和“高品质生态鱼调理食品标准化生产技术研发与装备创制”等工作。通过月亮湾生态鱼瘦身养殖过程中品质变化规律研究,制定相关标准,提升月亮湾生态鱼养殖技术和研发高品质生态鱼调理食品标准化生产技术并推动相关技术的转化与示范及品牌培育。全区建设月亮湾生态鱼示范场5个,单个示范场面积不低于50亩。
(二)项目实施区域及建设内容
拟在月亮湾渔村范围内的二圣、惠民、天星寺等镇街实施,且拟实施养殖场目前正在开展鱼瘦身养殖。主要建设内容包括:建设在线监测系统,配置水质监控、视频监控等监测设备,建设养殖现场无线传输自主网络,构建自动监控平台。建设生产过程管理系统。改造增氧、饵料投喂、底质改良、水循环等设施设备,配套实施养殖池塘的标准化改造,配置便携式生产移动管理终端,提升水产养殖的机械化、自动化、智能化水平。建设综合管理保障系统。配置水质检测、品质与药残检测、病害检测等设备,构建鱼病远程诊断系统和质量安全可追溯系统。建设公共服务系统。构建公共信息资源库、疫情灾情监测预警系统、养殖渔情精准服务系统。
(三)补助资金规模及使用方向
拟在全区建设智慧渔业示范场5个,单个示范场面积不低于50亩,单个示范场申请补助资金规模不超过20万元。
四、月亮湾生态鱼标准化生产以奖代补项目
(一)项目实施区域及建设内容
全区目前正在按照标准开展鱼瘦身养殖与销售的养殖场。申报主体需按照制定的生产标准进行生产,销售的生态鱼需经经检验合格并标记可追溯标签后,方可计入奖补销量;最后奖补量的确定需要提供可靠的销售记录凭证。
补助资金标准
按照单价不超过1元/斤奖补,总奖补资金不超过100万元。
五、申报要求
各申报主体将项目申报实施方案报所在镇街,由各镇街汇总后将本镇街所有项目实施方案纸质件(一式四份)及汇总表1份报送至区水产站杨超收,电子件传至邮箱442103128 @qq.com。逾期或未按要求报送,视为自动放弃本次项目申报。
附件:巴南区池塘底排污系统建设技术标准
(联系人:杨超,联系电话:18166565013。)
附件
巴南区池塘底排污系统建设技术标准
(2022年版)
一、基本原理
在池塘底部的最低处修建一个或多个排污口,在池边修建排污井,用地下管道连接排污口和排污井形成一个连通器。排污时,拔出排污井中的插管,池塘内外水位差产生水压,将池塘底部的废弃物压到排污井中自主排出养殖池塘。排出的污水进入固液分离池沉淀,固体有机沉淀物作为有机肥用于种植农作物、蔬菜等,上清液作为农业用水,直接排放或进入池塘循环再利用,形成一个良性循环系统。池塘底排污系统水体循环利用见图1。

图1 池塘底排污系统水体循环利用图
二、系统组成
池塘底排污系统的设备设施主要包括:排污口、拦鱼网、排污管、排污井、固液分离池等。池塘底排污系统平面结构示意图和剖面结构示意图分别见图2和图3。


图2 池塘底排污系统平面结构示意图

图3 池塘底排污系统剖面结构示意图
三、系统建设要求
池塘大小不限,5亩以上的池塘就可建设底排污系统,池塘底部有1-2%的锅底形坡度,底排污建设与池塘面积、排污口数量、池底要求、排污口修建位置有一定的关系。池塘底排污建设基本要求见表1。
表1 池塘塘底排污口数量与池塘大小的关系
|
池塘大小(亩) |
排污口数(个) |
排污口修建位置 |
|
水面面积<3 |
1 |
池底最低处1个 |
|
3≤水面面积<5 |
2 |
池底最低处1个,再离约20米处修1个 |
|
5≤水面面积<10 |
3 |
池底最低处1个,沿池塘长边,以最低处排污口为中心左右约20米处修2个 |
|
10≤水面面积<20 |
4 |
池底最低处1个;沿池“十”字排污沟,以最低处排污口为中心约20米处修3个 |
|
20≤水面面积<30 |
5 |
锅池底最低处1个;沿池“十”字排污沟,以最低处排污口为中心约20米处修4个 |
|
水面面积≥30亩 |
6 |
排污口与池塘长边平行 |
(一)排污口
干塘后,在池底较低处修建砖混排污口,长×宽×深至少为80厘米×80厘米×40厘米,开口四周边沿留宽、深各3厘米的凹槽,用于安装拦鱼网。
拦鱼网的网格尺寸以养殖鱼类钻不出为准。排污口周围固化面积至少6平方米(即半径至少为1.4米的圆形),呈15-30度的锅底形。


图4 拦鱼网加工制作
(二)排污管
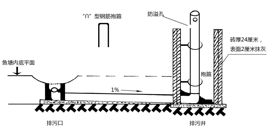
排污管一般采用直径160-200毫米的PVC管或PE管,将排污口与出污口连通,并有1%左右的坡度。管道掩埋在塘底下面,接口连接后用呈“U”型钢筋插入地平面20厘米以上固定,同时混凝土或砖砌四周固定。
(三)排污井
修建排污井建在池坝的内边或外边处,底部低于池塘清淤后的底平面至少20厘米,高度与池塘坝面持平,混凝土或砖砌四周粉刷,规格为2米×3米以上(3个排污口为例,排污口越多,尺寸越大)。排污管出污口数量与排污口数量一致,出污口的管口低于底部10厘米,并呈15-30度的锅底形。
用PVC管作为排污插管阀,与出污口管紧密结合,长度要高出排污井上口50厘米,方便插拔;同时用钢筋作为抱箍,以便固定排污插管,抱箍直径要大于排污插管4厘米以上,方便在左右摇摆操作。排污插管上端要留一个防溢孔或者安装一个弯头,防止插入时水倒流湿身。
排污井底部放置一水泵,将排出的污水提灌至固液分离池。

图5 排污井与排污口连接的剖面
(四)固液分离池
固液分离池建设在排污井边上,面积为池塘面积的千分之二,(例子:10亩水面修建的三格以上固液分离池总内空面积为10×667×2‰=13.3平方米),长、宽、深比为6.5:3.3:1(深度可视具体情况进行调整,至少为1.8米深);上清液出口与池塘或人工湿地相连;沉淀池底部安装1个直径至少110毫米的PVC排泥管连接到集粪池,用110毫米PVC管作为排泥插管阀,控制泥粪排放。
固液分离池都用标砖(240毫米×115毫米×53毫米)做240毫米厚的墙体(个别地区地质条件不好的可加厚)。用l:3的水泥灰浆做底灰和表面抹灰处理。地基用C25混凝土做10-20厘米厚的地基,如果地质条件较差的地区则需打桩或编制钢筋网加固地基。

四、注意事项
1.底排污系统应避免带水安装,防止高程落差达不到要求而影响系统的排污效果。
2.需根据安装池塘的形状、大小、地理条件科学设计底排污系统。
3.科学安装流程:池塘售鱼清塘、干塘后,在池底先找坡度,再在最低处安装、修建排污口,埋设排污管等。
4.排污口必须在池底最低处,才更利于集污。
5.排污管理。在养殖周期内,正常情况每15天开启排污阀排污一次,6-8月份3天排污一次,每次排污时间控制在3-5分钟,当污水颜色和臭味变轻时,插上排污阀插管自动停止排污。老旧池塘每次的排污时间可以适当延长。
6.污水降解净化。进入固液分离池中的污水自然沉降,泼洒光合细菌、芽孢杆菌、乳酸菌等微生物制剂,降解污水中的粪便、残饵、残体及有机碎屑等大分子物质。底层固体物作为农作物、瓜果、蔬菜的有机肥,上清液用来浇灌经济植物、排入池塘循环利用或直接排放。
附件10
幼龄果园种植春大豆项目申报指南
一、项目目标
在幼龄果园套种间作大豆不但能培肥地力、熟化土壤(大豆根系中的根瘤菌具有固氮作用,据田间试验测定,1亩大豆可固氮8.28公斤左右,相当于施用18公斤尿素),同时还能以短养长,长短结合,增加农民收入,为市民提供优质植物蛋白。为充分利用我区幼龄果园土壤的光热资源,我站拟在幼龄果园种植优质大豆,以培肥地力、熟化土壤,解决幼龄果园水果尽早投产和前期增收问题。
二、申报主体条件
(一)镇街农业服务中心、村委会
(二)社会秩序维护良好,征信记录良好。
(三)对地方社会经济、产业脱贫有良好带动作用。
三、项目建设内容及要求
(一)技术要求。
1.合理密植。幼龄果园种植春大豆,播种规格为:距离果树1.2米开厢,窝行距为(0.7-0.8)×(1.5-1.2)尺左右,亩播6000窝左右。窝播4-5粒种子,定苗2株。
2. 配方施肥及田间管理。
种肥亩用过磷酸钙30-40公斤加草木灰100公斤加优质渣肥500公斤堆制腐熟。播种后即用种肥盖种。当第一片复叶至第二片复叶展开时进行田间管理,中耕除草,定苗,确保每窝2株,除较肥沃的土壤外,同时可追一次肥,亩施人畜粪500公斤左右或复合肥5公斤左右。在初花期和鼓粒期用2%磷酸二氢钾叶面喷施。
3.防治病虫害。
大豆主要虫害有蚜虫、豆荚螟、卷叶螟、毛虫等。春大豆病虫较少,如有豆荚螟、卷叶螟等害虫,可用虫螨克防治,一般亩用20毫升兑水4箱进行叶面喷施。
(二)产量要求。
豆子亩产不低于70公斤。
四、项目实施规模
五、建设期限
2021年3月—9月。
六、补助标准
幼龄果园种植春大豆采取先建后补方式。通过经验收后,按照面积每亩补助260元。
七、品牌建设
项目申报中凡是已经注册、申报了绿色食品、有机食品地理商标的主体,享有项目优先实施权。
八、申报要求
申报主体自主申报,申报材料(一份)经所在镇街审核并盖章后报送区农技站邓琦收,同时报送电子版,E-mail:51000430@qq.com。各申报主体务必在规定的有效时间内,报送符合申报要求的材料纸质件和电子件;缺少任一申报要件,将视为申报无效。项目申报主体在提交申报材料时,须按材料目录顺序编制装订成册,并对申报材料的规范性、真实性和完整性负责。
联系人:邓琦,联系电话:19802354499
附件11
巴南现代农业产业园主导产业项目
申报指南
为进一步推进现代农业产业园建设,支持主导产业发展(茶叶、梨),拟实施一批相关农业项目,具体要求如下:
申报主体基本条件
巴南现代农业产业园范围包括巴南区二圣镇全域,惠民街道胜天村、显林村,天星寺镇芙蓉村、花房村,共10个村。此类项目仅限园区范围内农业新型经营主体、村集体经济组织等申报。
二、申报内容
在现在茶园、梨园基础上支持产业链建设,以农业机械、智慧化智能化、加工等为重点。
三、资金补助标准及配套
(一)专业大户、家庭农场、农民专业合作社的配套资金不少于补助金额的50%;农业企业配套资金不少于补助金额的100%;村集体不配套。
(二)财政补助资金30万元以上按要求进行涉农股权化改革。
四、申报要求
巴南现代农业产业园重点建设项目:由项目所在镇街推荐,产业园建设专班审定后报送入库。
五、其他事项
(一)请实施主体按照文件要求认真编制项目实施方案,享受财政资金补助项目任务量、补助标准、补助金额和具体环节必须明确并细化量化,具体建设内容要有建设规范标准要求。
(二)新建项目实行“先建后补”,项目经验收合格、所需材料齐全后,由一次性拨付项目补助经费。
(三)严禁同一项目多头申报,严禁虚报建设内容,严禁擅自更改建设业主、建设地点和建设内容。原则上同一项目实施主体同一年度内不能重复享受财政补助资金。
(四)原建项目严禁作为新建项目抵作财政补助和自筹资金内容。一经发现将记入不守信业主并按照《巴南区农业农村委工程项目廉洁行为相互监督管理制度》处理。
(五)取得补助项目业主,要按照批复内容,加快建设进度、保证建设质量。
联系人:周祖春;联系电话:13983365871
附件12
农业机械化和农机装备
产业转型升级项目申报指南
一、项目目标
根据《关于加快推进农业机械化和农机装备产业转型升级的通知》(巴南农业发〔2020〕31号)精神,加快推进我区农业机械化和农机装备产业转型升级, 推动我区农机装备由传统农机向新型农机、由种植业向养殖业和加工业转型升级。
二、申报主体
全区范围内从事粮油、蔬菜、茶叶、水果、畜牧养殖等特色产业链生产、农产品加工和农业生产社会化服务的专业大户、家庭农场、农民合作社、农村集体经济组织、农业企业。
三、申报条件
(一)专业大户、家庭农场须取得相关部门认可的经营资格或营业执照,农民合作社和农业企业须取得工商行政主管部门颁发的营业执照1年及以上,家庭农场、专业大户通过区内认定。
(二)产业发展符合国家政策,原则上要求符合全区农业产业布局规划,具备明显区位优势和示范效应,项目涉及用地应合法、环保达到相关要求。
四、项目内容
1、购买适合丘陵山区的大中型高效率、高性能等先进农业机械;
2、购买初加工关键环节机械化设备;
3、配套的冻库、烘干房、停机库、维修车间等。
五、报送材料清单
(一)项目实施方案应采用定性与定量相结合的方式,明确细化项目绩效目标、建设内容、财政补助环节、动力配备、购置设备型号及台(套)数等关键内容,项目建设任务及绩效目标要切实做到可考核、可量化。
(二)营业执照复印件1份(注明“复印属实”,加盖所在单位公章)。
(三)流转土地协议、经营规模和农业生产社会化服务面积等证明。
(四)修建冻库、烘干房、停机库、维修车间需提供合法用地手续。
四、报送要求
各申报主体将申报方案报镇街,由各镇街汇总后将申报方案和汇总表纸质件各1份报送到巴南区鱼洞街道江州路16号巴南区农机化技术推广站3-17办公室,电子档传至邮箱:2259084826@qq.com,联系人:郑明,联系电话:66275152。逾期或未按要求报送,视为自动放弃本次项目申报。
附件13
农田宜机化项目申报指南
一、总体要求
按我区农业产业布局要求,对农村土地实行整村整镇综合整治,加强农田宜机化建设,提升农业生产能力。强化节本增效,推进“机器换人”,改善农机作业条件,深化农机农艺融合,着力提升农业生产机械化水平。
二、申报主体
本区范围内开展农田宜机化改造的专业大户、家庭农场、农民合作社、农村集体经济组织、农业企业。
三、申报条件
1、专业大户、家庭农场须取得相关部门认可的经营资格或营业执照,农民合作社和农业企业须取得工商行政主管部门颁发的营业执照1年及以上,负责人具有一定的经营管理能力和示范带动效应。
2、整治规模要求集中连片面积达50亩以上,优先支持粮油、蔬菜产业项目和1000亩以上规模整社、整村、整镇推进农田宜机化项目,不支持基本农田改造后非粮化产业的农田宜机化改造项目。
3、已建成高标准农田,未达到宜机化标准的宜机化改造项目。
四、项目内容
(一)建设内容
1、地块自连互通;
2、地块缓坡化改造;
3、水平条田、水平梯田和坡式梯台地改造。
(二)奖补标准
1、地(田)块连通,每亩补助1000元以内。
2、缓坡化改造,每亩补助1500元以内。
3、水平条田、水平梯田和坡式梯台地改造,每亩补助2000元以内。
五、报送要求
各申报主体将申报方案报镇街,由各镇街汇总后将申报方案和汇总表纸质件各1份报送到巴南区鱼洞街道江州路16号巴南区农机化技术推广站3-17办公室,电子档传至邮箱:2259084826@qq.com,联系人:郑明,联系电话:66275152。逾期或未按要求报送,视为自动放弃本次项目申报。
附件14
村级电商站点申报指南
一、申报主体条件
巴南区各村民委员会,在巴南区登记注册的新型农业经营主体。申报的村级电商站点有持续运营能力的运营主体,项目所在村有产业基础或一定规模的农副产品。
二、项目建设内容
主要用于农村电商发展所必需的设施设备,包括农产品粗加工、包装、简易运输、冷链仓储、质量安全检测等设施设备。
三、资金补助标准
每个村级电商站点项目财政补助资金不超过20万元。农业企业自筹资金不低于申请补助资金,农民专业合作社、家庭农场、专业大户自筹资金不低于财政补助资金的50%,村集体经济组织不要求自筹。
四、报送要求
申报主体将项目申报建议书报所在镇街审核盖章,由各镇街汇总后将项目建议书纸质件和汇总表各1份报送至区农业农村委科教信息科(区行政中心一号楼828室),同时报送电子版材料(邮箱:1099312134@qq.com)。
联系人:王成,联系电话:17729659966。
附件15
智慧农业项目申报指南
一、申报主体条件
(一)各镇街、各村民委员会,在巴南区登记注册的农业新型经营主体。
(二)应有一定的生产规模和持续经营能力,农业新型经营主体应有一定的自筹资金能力。
(三)申报主体积极性高、信誉度强,实施内容具有可复制可推广的示范带动效应。产业发展符合国家政策,环保达标。
二、项目建设内容
重点围绕制约农业产业发展瓶颈问题,通过探索物联网、大数据、智能控制、5G+、区块链等先进技术在农业生产领域应用发展,推进农业生产的信息化、数字化和智慧化升级,强化农业生产全产业链智能化数据汇集、分析、应用和服务,提升农产品标准化智能化生产、安全溯源、品牌营销和网络销售能力,探索建设一批可看、可用、可复制的智慧农业示范模型。
三、资金补助标准
每个智慧农业项目暂不限制总投资额度,原则上种植业、水产业投资不超过5000元/亩。农业企业自筹资金不低于申请补助资金,农民专业合作社、家庭农场、专业大户自筹资金不低于财政补助资金的50%,镇街和村集体经济组织不要求自筹。
四、报送要求
申报主体将项目申报建议书报所在镇街审核盖章,由各镇街汇总后将项目建议书纸质件和汇总表各1份报送至区农业农村委科教信息科(区行政中心一号楼828室),同时报送电子版材料(邮箱:1099312134@qq.com)。
联系人:王成,联系电话:17729659966。
附件16
关于高标准农田建设项目申报指南
根据《重庆市农业农村委员会办公室转发农业农村部办公厅关于做好“三农”领域补短板项目库建设工作的通知》(渝农办发〔2020〕111号)文件要求,积极推动我区高标准农田建设,现将我区高标准农田建设申报有关事宜通知如下:
一、总体要求
紧紧围绕高标准农田建设以及高效节水灌溉建设目标任务,根据现代农业产业园区建设以及乡村产业振兴等需求,在充分遵循计划区域群众、经营主体、集体经济组织意愿的基础上,以高标准农田建设为重点,优先支持“两区”、脱贫乡镇、脱贫村开展农田建设。新型经营主体(农民合作社、家庭农场、专业大户、农业企业以及其他涉农单位)申报高标准农田建设纳入村、镇统一申报。
二、重点支持区域和方向
(一)粮食生产功能区、重要农产品生产保护区及种子制种基地;
(二)“口粮田”及特色粮油生产基地;
(三)现代农业产业园区建设;
(四)丘陵山区农田“宜机化”改造与产业标准化基地;
(五)脱贫乡镇、脱贫村产业化农田建设;
(六)现代山地特色高效农业发展;
(七)其他方面。
三、选址条件
各镇街要严格遵循“统筹规划、集中连片、规模开发、整村整镇推进”的要求确定建设规模,原则上整镇、整村申报。若有特殊需要最低不少于50亩。在连片实施范围内已进行高标准农田建设,但仍有部分田块没有建设的,允许按照“填平补齐”原则进行设计和建设。允许对2010年(含)以前立项的中低产田改造区域进行提质更新,按照“填平补齐、避免重复建设”的原则确定建设内容,直接建成高标准农田。禁止在坡度大于25度的区域、土壤污染严重区域、四线区(城市开发边界区、生态保护区、自然保护区的核心区和缓冲区、林草区)开展农田建设,严禁以任何形式、任何名义违规建设“大棚房”。
建设标准
(一)建设内容
遵循“宜机化、水利化、生态化、园田化、规模化、标准化、智能化”的原则,开展农田宜机化、水利化等工程建设。
(二)建设标准
高标准农田项目建设标准按照“缺什么补什么,按需投入”的原则编制方案。
(三)建设方式
高标准农田建设执行项目法人制,按照国家有关招标投标、政府采购、合同管理、工程监理、资金和项目公示等规定执行。其中,经批准同意先建后补助项目按实施方案先行建设,项目工程完工,通过项目工程结算审核,经验收合格后给予一次性补助。
五、报送要求
请各镇(街)按照选址要求,结合本辖区的产业发展规划和项目区群众积极性,合理规划项目区,按照《重庆市巴南区农业农村委员会、重庆市巴南区财政局关于加强农业项目管理的通知》(巴南农业发〔2021〕108号)规定格式编制项目实施方案及项目资金绩效目标表(具体见附件1)和《2022年度农田建设实施建议书》,进行积极申报。于2021年10月22日前报送至区农业农村委基础设施科(电子档传QQ邮箱:769281886@qq.com)。联系人:徐晓洪、李明,联系电话:023-66222369。
附件:1.2022年高标准农田建设项目先建后补实施方案
2.2022年度农田建设实施建议书
附件
2022年高标准农田建设项目实施方案
项目名称:(XXX申报镇、村)2022年高标准农田建设项目
实施单位:
通讯地址:
邮政编码:
联 系 人: 职务/职称:
办公电话: 手机:
主管单位:区农业农村委员会
联 系 人: 职务/职称:
办公电话: 手机:
填制日期:
重庆市巴南区农业农村委员会 制
一、项目所涉产业发展现状(或工作开展情况)
二、项目任务计划
(一)项目任务来由(背景)
(二)建设地点及规模
(三)项目内容(分项具体说明,既要有定性表述,又要有定量数据)
(四)建设进度
(五)项目推进及管理措施
(六)项目绩效目标(含项目带动能力,直接经济、社会、生态效益等)
(七)其他
三、资金投入概算
(一)项目总投资及资金来源
(二)资金具体用途和投资标准
(三)项目资金及资金使用环节(要具体说明财政资金使用支持环节、补助标准和额度等)
(四)其他
四、组织保障措施
五、项目实施单位情况
(一)单位性质、隶属关系、职能(业务)范围
(二)财务收支和资产状况
(三)有无不良记录(财政部门及审计机关处理处罚决定、行业通报批评、媒体曝光等)
(四)实施该项目现有条件(包括自筹资金的筹措方案)
六、受益农民或新型农业经营主体投入高标准农田建设情况(鼓励有此内容,如投工投劳记录,不是必须)
表一:
项目主要人员与任务分工
|
姓名 |
性别 |
年龄 |
工作单位 |
职务/职称 |
项目任务分工 |
备注 |
表二:
项目实施方案审批意见表
|
项目单位 意 见 |
本单位对以上内容的真实性和准确性负责,特申请立项。 负责人签名: (单位公章) 年 月 日 |
|
镇(街)意见 |
负责人签名: (单位公章) 年 月 日 |
|
区农业农村委意见 |
科室(站所)签名: (单位公章) 年 月 日 |
|
分管领导签名: 年 月 日 | |
|
主要领导签名:(单位公章)年 月 日 | |
|
区财政 局意见 |
单位领导签名:(单位公章)年 月 日 |
|
备 注 |
表三: 注:本表打“*”据实填写,其余保持不变 | ||||||||||||||||||||||||||||||||||||||||||||||||||||||||||||||||||||||||||||||||||||||||||||||||||||||||||||||||||||||||||||||||
附件2
2022年农田建设实施建议书
|
村 社 填 报 |
建设地点 |
村社等共个社 | ||||||||||
|
耕地面积(亩) |
其中水田(亩) |
其中旱地(亩) |
||||||||||
|
户籍人口(人) |
脱贫户(户) |
脱贫人口(人) |
||||||||||
|
现有农业产业 |
||||||||||||
|
拟发展产业 |
||||||||||||
|
农业产业发展的限制性因素 |
□地块零碎;□土壤贫瘠;□灌溉缺水;□排水不畅;□交通不便;□农业技术匮乏;□其他。 | |||||||||||
|
群众积极性 |
建设意向强烈人;意愿一般人;无所谓人;反对人。 | |||||||||||
|
其他需要补充说明的情况 |
||||||||||||
|
填报人(签字): 填报村社(盖章): | ||||||||||||
|
乡 镇 填 报 |
村社填报情况是否真实准确;□是;□否。 | |||||||||||
|
是否符合当地产业规划:□是;□否。 | ||||||||||||
|
是否已实施农田建设项目(详见备注):□是;□否。 | ||||||||||||
|
是否涉及自然保护区的核心区、缓冲区:□是,涉及面积亩;□否。 | ||||||||||||
|
村支两委组织协调能力:□较强;□一般;□较差。 | ||||||||||||
|
实施项目的群众基础:□较好;□一般;□较差。 | ||||||||||||
|
是否同意申报农田建设项目:□是;□否。 | ||||||||||||
|
填报人(签字): 填报乡镇(盖章): | ||||||||||||
|
区县 农业 农村 部门 填报 |
项目名称 |
投资估算(万元) |
||||||||||
|
预计新增高标准农田 面积(亩) |
预计新增高效节水灌溉 面积(亩) |
|||||||||||
|
预计新增耕地面积(亩) |
预计提升耕地质量等别 |
|||||||||||
|
符合农田建设相关规划情况 (可多选) |
□位于已划定的粮食生产功能区;□位于已划定的重要农产品生产保护区;□位于制种基地;□位于永久基本农田保护区;□位于现代农业产业园区。 | |||||||||||
|
拟建区域是否查重:□是;□否。 | ||||||||||||
|
是否具备实施的基础条件:□是;□否。 | ||||||||||||
|
是否同意申报农田建设:□是;□否。 | ||||||||||||
|
填报人(签字): 填报区县(盖章): | ||||||||||||
填报说明:
1、农田建设包括农业综合开发、农村土地整治、高效节水灌溉、水土保持工程、新增千亿斤粮食产能田间工程等;
2、项目名称为“××区(县)××年××乡(镇、街道)高标准农田建设项目”;
3、项目投资估算暂按1500元/亩标准填报;
4、项目预计新增耕地面积暂按高标准农田面积的6%填报;
5、项目预计提升耕地质量等别按0.3等填报;
6、拟建区域是否查重,是指根据高标准农田建设一张图数据库(区县规划自然资源部门),查询拟建区域范围内是否已通过农村土地整治监测监管系统报备高标准农田建设信息。
附件17
智慧猪场项目申报指南
一、项目资金补助标准及使用范围
智慧猪场项目申报补助资金不超过100万元。项目资金可用于开展生猪养殖关键环节智能水平提升示范。构建智能生猪养殖监测与管理体系,推动农业物联网、人工智能等现代信息技术在生猪养殖关键环节的应用示范,促进智慧农业技术在生猪生产管理、安全追溯等关键环节的融合应用。通过改善企业养殖管理水平,终端远程操控猪场内的智能硬件,实现智能盘猪、智能称重、膘情监测、智能饲喂、可追溯管理等措施,从而大大减少人员介入,降低生猪感染疫病风险。
二、项目申报条件
1.猪场生产条件较好,且有较好的智慧生产数字化、网络化、智能化技术基础条件。
2.申报主体积极性高、信誉度强,具有可复制示范性。
3.申报主体有完善的管理制度,财务管理规范。
4.申报主体须按照1:1对项目配套自有资金。
三、申报要求
各申报主体将项目申报建议书报镇街,由各镇街汇总后将本镇街所有项目建议书纸质件及汇总表各1份报送至区疫控中心204室(邵东东收),电子件传至邮箱952708874@qq.com。逾期或未按要求报送,视为自动放弃本次项目申报。
联系人:邵东东,联系电话:18584656415。
附件18
畜禽规模养殖场粪污处理设施改造升级
项目申报指南
一、项目资金补助标准及使用范围
畜禽规模养殖场粪污处理设施改造升级项目补助控制在20万元/个。项目资金可用于配套建设雨污分离、干湿分离设施,配套建设沼气池、沼液池、干粪池、还田管网等设施设备、粪污处理设施设备和有机肥生产设施设备以及规模养殖场粪污处理设施扩容升级进行补助。项目实施后,能满足养殖粪污处理负荷承载要求,以实现粪污资源化利用。
二、项目申报条件
1.畜禽规模养殖场生产条件相对较好。
2.申报主体积极性高、信誉度强。
3.申报主体有完善的管理制度,财务管理规范。
4.申报主体至少须按照1:1对项目配套自有资金。
5.已获得畜禽规模养殖场粪污处理设施改造相关补助的企业不在本次申报范围。
三、报送要求
各申报主体将项目申报建议书报镇街,由各镇街汇总后将本镇街所有项目建议书纸质件及汇总表各1份报送至区疫控中心204室(邵东东收),电子件传至邮箱952708874@qq.com。逾期或未按要求报送,视为自动放弃本次项目申报。
联系人:邵东东,联系电话:18584656415。
附件19
祖代猪场引种补贴项目申报指南
一、项目资金补助标准及使用范围
祖代猪场引种补贴项目对具备祖代猪饲养条件的养殖场实行先引后补,即每引进1头祖代猪申请补贴不超过2000元,申请补助资金总额不超过100万元。通过对种猪引种补贴项目实施,增加祖代种猪的存栏数量,更新祖代猪场血缘,提高种猪群体质量,满足生猪生产方式转变对优质种猪的需求。
二、项目申报条件
1.申报主体积极性高、信誉度强。
2.申报主体有完善的管理制度,财务管理规范。
3.申报主体须有较强实力,配套自有资金。
4.申报主体需具备祖代猪饲养的必要条件,提供供种单位出具的引种谱系、种畜场出场合格证和检疫证明,且一个年度内引种数量在200头以上。
三、报送要求
各申报主体将项目申报建议书报镇街,由各镇街汇总后将本镇街所有项目建议书纸质件及汇总表各1份报送至区疫控中心204室(邵东东收),电子件传至邮箱952708874@qq.com。逾期或未按要求报送,视为自动放弃本次项目申报。
联系人:邵东东,联系电话:18584656415。
附件20
巴南区2022年生态循环农业试点项目
入库申报指南
申报对象
巴南区范围内工商注册1年以上的新型农业经营主体,优先支持已建成一定规模的新型农业经营主体或现代农业园区和取得绿色农产品认证的申报主体。重点支持种养结合的生态循环项目建设,如猪沼菜、猪沼果等立体种养模式。
二、申报条件
(一)在巴南区范围内流转土地成片集中种植面积300亩以上,同时畜禽年出栏1000头生猪当量以上。
(二)项目实施有扎实的保障措施,新技术示范推广工作基础较好,自筹资金有保障。核心示范基地(点)有一定规模,沟渠路配套,具有相应的设施条件。
(三)区域产业特色鲜明、布局合理,发展潜力较大,项目实施有利于优化品质、提高科技含量、转变农业发展方式,促进生态循环农业发展。
(四)实施主体明确,生态循环模式先进、实用、可操作,有相应的技术操作规程或高效生态(种养殖)技术模式,示范效应明显。
三、补助环节
(一)畜禽养殖环节。畜禽养殖标准化、规模化、专业化,畜禽粪污无害化处理。畜禽养殖区的排泄物通过干湿分离,以 “养殖区—粪污—干粪—有机肥厂—种植区”、“养殖区—粪污—污水—沼气池—沼渣、沼液—种植区”和 “沼气—输气管道—周边农户”等循环模式,实现 “资源—产品—再生资源”的循环利用。
(二) 农业种植环节。通过畜禽养殖—肥料生产—田园种植链条,利用生物有机肥生产绿色、有机等高品质蔬菜、水果,开辟现代农业增效和农民增收的新途径,真正实现高效农业与环境保护的有机结合,保障农产品质量安全。
(三)有机肥加工环节。通过建设有机肥厂,消耗园区内的废弃物,形成并完善 “猪—沼—菜 (果)”和 “秸秆—畜禽粪便—有机肥—农田”的循环经济产业链,打造种、养、肥、源相互结合与转化的可持续发展的生态循环集约化农业生产模式的园区。园区所有种植的蔬菜、水果全部采用由畜禽粪便处理加工而成的有机肥料;养殖废水经过回收处理,净化为生态养殖池和园区灌溉用水;农业废弃物全部回收利用,园区干净、清洁、环保。
四、补助标准
单个申报项目补助资金不超过100万元,申报主体需按照1:1比例配套自筹资金。
五、申报方式
业主申报,镇街审核。
六、报送要求
各镇街将入库项目汇总表行文上报区农业农村委,项目建议书纸质件及汇总表各1份,交区政府农业农村委830室,电子件发送至邮箱603738781@qq.com。逾期或未按要求报送,视为自动放弃本次项目入库申报。
联系人:胡松,联系电话:13650590710。
附件21
巴南区村级监管示范点项目申报指南
项目目标
为了推动农业产业振兴助推乡村振兴,农产品质量安全监管站点是农产品质量安全控制的最前沿阵地,是把好农产品质量安全最后一公里关的重要力量,可以不断提高我区的农产品质量安全基层监管公共服务能力,推动全区农产品质量安全水平更上一个台阶。
申报主体条件
各镇街村委会。周边产业(蔬菜、水果)达到150亩以上。
三、项目建设内容及要求
(一)监管点场地要求。面积20平方米以上(含检测室、接样制样室)。
(二)检测人员。需配备至少一名农产品质量安全监管人员从事相关检测和农产品追溯管理工作。
(三)定期开展农产品质量安全抽样检测工作。
(四)对辖区内农产品生产企业提供农残快速检测和农产品追溯相关服务。
四、建设期限
2022年3月—11月。
五、补助范围及要求
(一)补助范围。项目经费仅对监管点基础装修、农药残留快速检测相关设备购置、办公追溯相关设备购置、抽样制样等相关费用进行补助。
(二)相关要求。
1.实验室装修达到农残快速检测实验室要求。
2.农药残留快速检测仪参数配置要求达到相关要求。
3.2022年申报3个村级监管示范点,每个补助不超过10万元。
六、申报要求
申报主体自主申报,申报材料(一份)经所在镇街审核并盖章后报送区农安中心陈梅收,同时报送电子版(邮箱281116857qq.com)。各申报主体务必在规定的有效时间内,报送符合申报要求的材料纸质件和电子件。逾期或未按要求报送,视为自动放弃本次项目申报。
联系人:陈梅,联系电话:15023760320。
附件22
巴南区镇街农产品质量安全监管站
提档升级项目申报指南
一、项目目标
为了推动农业产业振兴助推乡村振兴,镇街农产品质量安全监管站是农产品质量安全控制的最前沿阵地,是把好农产品质量安全最后一公里关的重要力量,可以不断提高我区的农产品质量安全基层监管公共服务能力,推动全区农产品质量安全水平更上一个台阶。
二、申报主体条件
巴南区各镇街农业服务中心。
三、项目建设内容及要求
(一)监管站场地修缮。
(二)农药残留快速检测仪及药品耗材更新。
(三)监管站标识标牌更新。
(四)农产品质量安全追溯体系相关办公设备购置。
四、建设期限
2022年3月—12月。
五、补助范围及要求
(一)补助范围。项目经费仅对监管站场地修缮、农药残留快速检测相关设备购置、办公追溯相关设备购置、标识标牌更新等相关费用。
(二)相关要求。
1.实验室场地修缮达到农残快速检测实验室要求。
2.农药残留快速检测仪参数配置要求。
(1)WT-R02符合国标GB/T5009.199-2003,采用速测卡法检测,按照国标要求使用红色药片与白色药片叠合发生反应,进而判断样品农残是否超标,适用于国标要求的所有产品。
(2)最小样品数量10个;数据存储量8GB,内置容量扩充槽,最大增至32G。
(3)10寸彩色触摸屏,内置Android操作系统,具备远程自动升级功能,无需配置电脑即可独立完成检测及数据传输工作。
(4)具有自动升温及恒温功能,检测全程屏幕显示升温过程,确保国标要求37±2℃,保证检测结果准确性。
(5)具备便携式移动检测功能,可以携带至户外检测,配置汽车充电器及外置移动电源。
(6)仪器配置一键出仓功能,不可拆卸模块且不需清洗,自动全程内部扫描,检测完成仓门自动打开。
(7)具有联机软件管理平台,可生成检测报告;能实现无线数据传输,实现同步上传至重庆市追溯平台。
(8)能在仪器上打印合格证;检测数据在上报到后台之后能打印合格证及溯源二维码。
(三)补助金额。镇街申请补助资金不超过10万元。
六、申报要求
申报主体自主申报,申报材料(一份)经所在镇街审核并盖章后报送区农安中心陈梅收,同时报送电子版(邮箱281116857qq.com)。各申报主体务必在规定的有效时间内,报送符合申报要求的材料纸质件和电子件;缺少任一申报要件,将视为申报无效。项目申报主体在提交申报材料时,须按材料目录顺序编制装订成册,并对申报材料的规范性、真实性和完整性负责。
联系人:陈梅,联系电话:15023760320。
附件23
种粮经营主体培育项目申报指南
因种粮比较效益低下,我区粮食生产以分散小农户为主,规模化种粮经营主体偏少,为切实加强粮食生产安全保障,引导鼓励新型经营主体从事粮食生产,在巴南区范围内开展种粮经营主体培育工作。
一、申报对象
(一)依法登记注册或通过认定。农业企业、农民专业合作社必须是在巴南区行政区域内依法登记注册的独立法人单位,并具有健全的财务管理制度。家庭农场、专业大户必须是巴南区农村户籍,且通过主管部门认定。
(二)土地经营规模达到相应要求。土地经营规模50亩及以上的企业、专业合作社、家庭农场、专业大户。
(三)正常经营。农业企业、农民专业合作社、家庭农场、专业大户等需正常经营的。
(四)具有完成项目任务必备条件。要有必备的人才条件、基本设施,具有完成项目任务所需的组织管理和协调能力。
(五)无不良记录。在承担过的农业农村委项目中无不良记录和行为的。
二、申报内容
(一)申报材料
巴南区2022年种粮经营主体培育项目申报实施方案。
(二)种粮作物
必须种植一季主要粮食作物:水稻、玉米、马铃薯、红苕、大豆、绿豆、豌胡豆、高粱、荞麦、肾豆、红小豆等12种粮食作物。
(二)财政资金支持环节
主要用于粮食生产种子、化肥、农药等农资采购,粮食生产机播、机插、机收、统防统治等社会化服务。
三、资金补助标准及配套
(一)补助标准
补贴标准200元/亩
(二)资金配套:粮食生产比较效益较低,为鼓励引导专业大户、家庭农场、农民专业合作社、农业企业发展粮食生产,不需配套自筹资金。
四、申报要求
各申报主体将项目申报实施案报镇街,由各镇街汇总后将本镇街项目实施方案纸质件,于2021年10月22日前报送至区农业技术推广站邓琦收,电子件传至邮箱510004308@qq.com。逾期或未按要求报送,视为自动放弃本次项目申报。
五、其他事项
(一)请实施主体按照文件要求认真编制项目实施方案,享受财政资金补助项目任务量、补助标准、补助金额和具体环节必须明确并细化量化,具体建设内容要有建设规范标准要求。
(二)该项目实行“先建后补”,项目经验收合格、所需材料齐全后,由区财政局一次性拨付项目补助经费。
(三)严禁同一项目多头申报,严禁虚报建设内容,严禁擅自更改建设业主、建设地点和建设内容。原则上同一项目实施主体同一年度内不能重复享受财政补助资金。
(四)原建项目严禁作为新建项目抵作财政补助和自筹资金内容。一经发现将记入不守信业主并按照《巴南区农业农村委工程项目廉洁行为相互监督管理制度》处理。
(五)取得补助项目业主,要按照批复内容,加快建设进度、保证建设质量。
联系人:邓琦,联系电话:19802354499
附件24
巩固脱贫成果项目申报指南
为全面贯彻落实党中央、国务院关于实现巩固拓展脱贫攻坚成果同乡村振兴有效衔接的统一部署,适应新形势、新任务的要求,根据重庆市乡村振兴局《关于加强县级巩固拓展脱贫攻坚成果和乡村振兴项目库建设管理的通知》(渝乡振发〔2021〕4号)要求,原区级脱贫攻坚项目库调整完善为区级巩固拓展脱贫攻坚成果和乡村振兴项目库(以下简称“项目库”)。
一、编报要求
(一)保持政策总体稳定,群众参与项目选择。严格落实“四个不摘”要求,在过渡期内项目库建设管理要求总体保持稳定,项目库规模要与财力状况和巩固拓展脱贫攻坚成果实际需求相匹配,规范项目库建设,做到提前谋划、规模适度、有进有出、动态管理。原则上,项目库平均每年度规模不超过上年实际投入资量的120%,不低于上年实际投入资金量。项目入库必须充分听取和吸纳群众意见,让群众直接参与项目选择、实施、监督全过程,确保群众的参与权、知情权和监督权。
(二)加强项目科学论证。强化项目论证,根据各地相关规划,乡村产业发展和乡村建设行动等任务,充分征求扶贫产业指导员、驻村工作队、驻村干部以及衔接资金项目管理工作经验丰富同志的意见建议,编制科学的项目建设内容,合理的项目预算,设立指标量化可考核,建立群众实际受益的利益联结机制,聚焦防止返贫动态监测和帮扶、乡村产业发展和乡村建设行动等任务,将巩固拓展脱贫攻坚成果和衔接推进乡村振兴的项目纳入项目库,原则上从项目库中选择实施,使用其他资金安排的巩固拓展脱贫攻坚成果的项目,鼓励从项目库中选择。项目建设的不同资金来源应符合相关规定。
(三)认真编报项目内容。各镇街、各部门要明确熟悉政策和业务能力强的同志,做好项目库所列内容的编报工作。纳入项目库的项目要有以下基本内容:项目名称、项目类别、建设性质、实施地点、时间进度、责任单位、建设任务、资金规模和筹资方式、受益对象、绩效目标、利益联结机制等情况。做到项目库基本内容填报完整、项目名称清晰明了、项目类别分类准确、资金规模预算匹配、绩效目标尽量详细,不能出现漏项错项,不明确的项目不得纳入项目库。各镇街和部门对项目填报内容的真实性负责。规范项目类型和级次,项目原则上应编制到村一级。
(四)强化逐级审查责任,实行负面清单管理。坚持谁审核、谁负责的原则,实行逐级审核签字背书制度。镇人民政府、街道办事处重点对村申报项目的真实性、必要性以及建设内容、资金概算、预期效益、合理合规合法性等进行审核。对与巩固拓展脱贫攻坚成果和衔接推进欠发达地区乡村振兴无关的项目,未明确绩效目标的项目,单位基本支出、交通工具及通讯设备、修建楼堂馆所、各种奖金津贴和福利补助、偿还债务和垫资等项目,简单发钱发物的项目,均不得纳入项目库。
二、编报程序
(一)村级申报
村“两委”、驻村工作队、驻村干部在认真结合当地产业发展现状以及巩固拓展脱贫攻坚成果的基础上,经村两委会或村民代表大会讨论,广泛征求群众意见后,提出立项申请,形成村级项目申报书,并在村务公开栏内公示10天后,上报镇街申请入库。
(二)镇街审核
镇街要加强对村级申报工作的指导,对申报项目的真实性、必要性、建设内容、资金概算、合理合法性、预期效益、群众参与情况和带贫减贫机制等进行审核,尤其涉及林地使用合法性、两违建筑等问题要专题研判,确保申报项目合理合法合规,并根据巩固拓展脱贫攻坚成果做好项目综合排序,提出滚动实施建议,经镇街政务公开栏公示10天后,报区委农村工作暨实施乡村振兴战略领导小组办公室。
(三)区级审定
区级行业主管部门依据项目性质履行行业论证把关职能,负责对镇街报送项目的科学性、合理性、可行性,特别是市场风险、环保准入、经济效益、生态效益等进行论证审核,审核后提交区乡村振兴部门。区级乡村振兴部门根据相关规划,结合行业部门论证结果,对项目是否属于巩固拓展脱贫攻坚成果和衔接乡村振兴项目进行审核,重点关注与脱贫人口和监测帮扶对象等利益联结机制建立等情况,对带动能力强、利益联结机制紧密、与群众生产生活紧密相关、资金使用效益高的项目予以优先安排。区级乡村振兴部门提出初步建议意见,提请区政府分管领导召集相关部门会议审定后,将符合条件的项目纳入项目库,并以适当形式公告公示。
对跨区域、规模化的项目,也可由镇街或行业部门提出,并履行公示公告程序后,按上述要求提请会议审定后入库。因疫情、灾情等突发事件影响急需实施的项目,可根据实际情况,适当优化项目入库、公告公示流程。
对确需跨年实施的项目,可一次性发包,分年度纳入项目库,分年度编制实施计划、分年度安排资金。
三、工作要求
(一)强化组织领导。建立项目库是基础性工作,各镇街各部门务必高度重视,要亲自安排部署、亲自推动落实,要成立专班、精心组织、充分调研、合理规划、反复论证、严格把关、科学确定,确保申报扶贫项目的真实性、科学性、可行性、效益性。严格落实“一把手”责任制,驻村第一书记、村书记对本村所申报的项目负责,镇街党政主要负责人对本镇街所申报的项目负责,责任部门主要负责人对本部门所申报的项目负责。
(二)严格程序要求。各责任部门和各镇街要严格按照通知要求筛选、申报的项目,要严格落实民主议定、公开公示、审核把关等程序,确保入库项目科学、精准。
(三)严格报送时限,实行动态管理。各镇街和各部门要严格按照编报程序中的时间节点完成相关工作,确保全区巩固脱贫攻坚成果项目库建设工作如期、高质量完成。每年11月10日前,编制好下一年度项目入库房申报书,并予公示。经审批后新增入库,做到程序完备、进出有据、适时更新。每年4月10日前、10月10日后,定期将调整后的项目库,报区乡村振兴部门备案。每年10月20日后,原则上不再调整当年项目库,当年未实施的项目可直接纳入次年项目库,次年项目库首次入库时间为,当年12月1日前。
(四)加强档案管理和系统数据维护。要留好管好相关档案资料,专柜存放、专人管理,确保档案资料客观真实、逻辑准确、齐全完整。村级要留存会议记录、会场照片、公示材料、公示照片、项目入库申报书等档案材料;镇街要留存村级巩固脱贫攻坚成果项目入库申请和脱贫攻坚项目入库申报书、研究审核会议记录、会场照片、镇街项目库公示材料、公示照片等档案材料。
将项目库纳入全国防返贫监测信息系统和重庆防止返贫大数据监测平台,同步做好线上线下项目库建设,并及时更新信息,新申报的入库项目按本通知执行。
附件:镇(街道、部门)巩固脱贫攻坚成果和乡村振兴项目库备案表
(联系人:杜婷;联系电话:66210455)
附件
|
镇街(部门)***巩固脱贫攻坚成果和乡村振兴项目库备案表 | |||||||||||||||||||||||||||||||||||||||||
|
序号 |
项目名称 |
项目类型 |
项目子类型 |
建设任务 |
建设性质 |
实施地点 |
绩效目标 |
群众参与和利益联结机制 |
绩效目标申报 |
实施单位 |
规划年度 |
是否纳入年度项目实施计划 |
时间进度安排 |
资金规模和筹资方式 |
受益对象(人) |
是否以工代赈方式实施项目 |
是否易地扶贫搬迁后扶项目 |
项目归属 |
是否脱贫村提升工程 |
是否资产收益 |
是否增加村集体经济收入 |
项目负责人 |
联系电话 | ||||||||||||||||||
|
年度总目标 |
产出指标 |
效益指标 |
满意度 |
主管部门 |
业主单位 |
实施年月 |
完工年月 |
小计(万元) |
财政资金 |
群众自筹等其他资金 |
受益总人口数 |
其中脱贫人口和监测对象人数 |
解决“两不愁三保障”项目 |
“巩固提升类”项目 |
是否资产收益扶贫 |
资产收益分配方案(简述) |
是否增加村集体经济收入 |
村集体经济收入分配方案(简述) | |||||||||||||||||||||||
|
数量指标 |
质量指标 |
时效指标 |
成本指标 |
经济效益 |
社会效益 |
可持续效益 |
衔接资金 |
其他财政涉农整合资金 |
其他财政资金 | ||||||||||||||||||||||||||||||||
|
合计 |
|||||||||||||||||||||||||||||||||||||||||
|
1 |
|||||||||||||||||||||||||||||||||||||||||
|
2 |
|||||||||||||||||||||||||||||||||||||||||
|
3 |
|||||||||||||||||||||||||||||||||||||||||
|
…… |
…… |
…… |
…… |
…… |
…… |
…… |
…… |
…… |
…… |
…… |
…… |
…… | |||||||||||||||||||||||||||||
|
填报人: |
审核单位:乡镇(盖章)、主管部门(盖章) |
||||||||||||||||||||||||||||||||||||||||
附件25
重庆市巴南区农业农村委员会
关于申报项目策划前期经费和乡村振兴农业项目审计所需费用的通知
各镇人民政府、街道办事处:
为了高效推进乡村振兴建设,加强项目管理和项目策划策划的相关前期工作对项目的有效建设有着重要的作用。
请相关镇街按照《关于加强农业项目管理的通知》(巴南农业发〔2020〕108号)要求,将已下达的乡村振兴建设项目在2021年内产生的财政补助资金≧100万元的单个项目聘请第三方审计(参照巴南府办发〔2015〕212号标准执行)所需的审计费、乡村振兴重大项目前期策划费(规划费)等,于2021年10月22日前将申报汇总表报区农业农村委。纸质件签字盖章后报区农业农村委规划发展科810室,电子文本发送至邮箱2660560861@qq.com。联系人:向波,联系电话:66210455。
附件:1.乡村振兴项目策划前期费用资金申请表
2.聘请第三方审计资金申请表
附件1
|
乡村振兴项目策划前期费用资金申请表 | ||||||||||
|
填报单位(盖章): |
||||||||||
|
序号 |
项目名称 |
实施单位 |
建设内容 |
项目资金(万元) |
按要求预计所需规划资金 |
项目实际发生规划资金 |
备注 | |||
|
合计 |
财政补助 |
自筹 | ||||||||
|
单位负责人: |
经办人: |
电话: |
||||||||
备注:若项目已完成规划,请提供合同、发票、规划方案复印件
附件2
|
聘请第三方审计资金申请表 | ||||||||||
|
填报单位(盖章): |
||||||||||
|
序号 |
项目名称 |
实施单位 |
建设内容 |
项目资金(万元) |
按要求预计所需规划资金 |
项目实际发生规划资金 |
备注 | |||
|
合计 |
财政补助 |
自筹 | ||||||||
|
单位负责人: |
经办人: |
电话: |
||||||||
备注:若项目已完成审计,请提供合同、发票、审计报告复印件
附件26
全域全要素村规划项目申报指南
为进一步推进乡村振兴重点帮扶村、示范村、示范片等建设,由各镇街根据辖区农业农村实际情况研究报送原则上可推荐报送1个,单个村申请金额不超过30万元,由相关镇街组织完成域区内示范村规划编制工作,项目启动拨付50%,规划成果报经区文旅管委会、区乡村振兴领导小组或区级专项评审会审议等区级审议通过后拨付余款。
请各涉农镇街高度重视此项工作,乡村振兴示范村全域全要素村规划成果项目经审定后纳入区乡村振兴项目库,做为下一步乡村振兴示范建设项目主要来源。申报材料(一份)经所在镇街审核并盖章后报送区农业农村委规划发展科向波收,同时报送电子版,E-mail:841812600@qq.com。联系人:向波;联系电话:66210455。
附件27
中共重庆市委全面深化改革委员会
文件
农业农村改革专项小组办公室
渝农改办〔2020〕1号
★
中共重庆市委全面深化改革委员会
农业农村改革专项小组办公室关于调整
《农业项目财政补助资金股权化改革方案》
有关内容的通知
各区县(自治县)农业农村改革专项小组,市委全面深化改革委员会农业农村改革专项小组各成员单位:
农业项目财政补助资金股权化改革实施3年来,全市各级各部门按照市委、市政府工作部署稳步推进,在构建新型利益联结机制、增加农民财产性收入、助力脱贫攻坚上取得明显成效。为适应农村改革发展新要求,充分释放股权化改革动力活力,进一步提高财政资金使用效益,对《农业项目财政补助资金股权化改革方案》(渝农改办〔2016〕1号)有关内容作如下调整:
一、不再对各区县(含万盛经开区,以下简称区县)作股权化改革资金总量要求。各级财政采取直接补助方式支持农业企业、农民专业合作社等新型农业经营主体的农业产业发展项目资金,单个项目补助30万元以上(含)的原则上纳入改革,有特别规定的除外。其他用于支持农业产业发展的项目资金可参照执行,农林水利财政预算内基本建设投资项目、财政扶贫资金投入到各类产业项目资金可按有关股权化改革和资产收益扶贫政策执行。采取贷款贴息、担保贴费、农业保险费用补贴等间接补贴方式支持农业产业发展的资金不纳入改革。
二、从2020年开始,将大渡口区、江北区、南岸区纳入农业项目财政补助资金股权化改革实施范围。全市38个涉农区县全面推进农业项目财政补助资金股权化改革。
三、农业企业、农民专业合作社承接项目实施股权化改革时,项目自筹资金标准(比例)由各区县根据产业发展情况、财政支持环节及相关规定确定。
四、农业企业、农民专业合作社承接的财政补助项目,项目所在地村级集体经济组织按财政补助资金30%—50%持股,其余直接补助农业企业、农民专业合作社。组级集体经济组织和农户是否持股由区县根据实际确定。补助资金额度大或受益范围广的项目,可结合实际量化给其他相关的村级集体经济组织持股。补助农民专业合作社资金所形成的财产(集体经济组织持股部分除外)应当按照有关规定平均量化到本合作社每一位成员,与成员账户内记载的出资额和公积金份额共同构成有关盈余二次分配依据。
五、村级集体经济组织持有股份视同优先股,不参与实施项目的经营管理。村级集体经济组织持股资金和年度分红纳入村集体资产和财务管理。项目所在地村集体要加快推进农村集体产权制度改革,将集体资产股份(份额)公平公正地量化到集体经济组织成员。
六、村级集体经济组织一般按持股资金5%—10%/年的标准固定分红。分红起始时间、具体标准等在区县项目主管部门指导下,由项目实施企业、农民专业合作社和村级集体经济组织根据项目类别、产业特点协商确定。分红起始时间不得晚于财政补助资金到位起第3年,连续分红时间不得少于5年。确因自然灾害、意外事故等不可抗力因素造成重大亏损、项目消失,且无保险赔付、政策性补偿的,可视情况暂缓、减免分红,相关情况需报乡镇人民政府和区县项目主管部门复核确认。村级集体经济组织收到分红资金后,按照规范的议事程序确定分红收益用途,包括用于分配给成员、用于村级公共基础设施建设和发展村级集体经济等。村级集体经济组织持股分红收益中,应当明确一定比例对建档立卡贫困户再次分配,具体比例结合当地脱贫攻坚工作实际确定。建档立卡贫困户参与集体分红收益再次分配,需与贫困人口直接参与生产经营活动等挂钩,不能简单“一分了之”。
七、村级集体经济组织连续分红5年后,农业企业、农民专业合作社可按照原值赎回村级集体经济组织持有股份,也可继续持股分红。农业企业、农民专业合作社提前结束项目、转让项目的,应按照原值赎回村级集体经济组织持有股份,在项目转入方同意的基础上也可由项目转入方继续履行相关协议。赎回方式上,可一次性赎回,也可分年度赎回,分年度赎回不得超过5年,未赎回股金继续享受分红。村级集体经济组织收到持股本金后应当用于村级公共基础设施建设、支持村级集体经济发展,不得进行直接分配给集体经济组织成员。确因不可抗力因素导致项目无法续存,参照企业破产清算和合作社解散、破产清算相关政策规定处置。
各区县农业农村改革专项小组要加强统筹协调,精心指导。各级各相关部门要加大政策宣传力度,让各类主体了解政策、吃透政策,特别是要督促农业企业、农民专业合作社、村集体经济组织把握政策、执行政策;要加强项目管理,严格项目选择标准,注重前期研究论证,注重引导市场竞争力强、社会效益好、市场前景广阔、农民群众能受益的项目实施股权化改革;要坚持实事求是,优化操作模式和改革路径,统筹兼顾各方参与股权化改革的积极性;要完善利益联结机制,形成稳定的契约关系,加强集体经济组织持股资金的运营管理,避免“一股了之”;要及时跟踪问效,对新情况新问题迅速研究和妥善处置,做好矛盾纠纷排查化解工作,切实维护好各方合法权益。
已实施股权化改革的项目按照原规定执行。
农业农村改革专项小组办公室
2020年2月3日


抄送:市审计局。


农业农村改革专项小组办公室 2020年2月3日印发


附件28
项目建议书一般格式
一、项目摘要。项目内容的摘要说明,包括项目名称、建设单位、建设地点、建设年限、建设规模与主要建设内容、投资估算、效益分析等。
二、项目建设的必要性和可行性。
三、项目建设地点选择。项目建设地点选择要直观准确,要落实具体地块并对与项目建设内容相关的基础状况、建设条件加以描述,不能以项目所在区域代替项目建设地点。
四、项目建设内容与规模。项目建设内容主要包括土建工程、田间工程、配套仪器设备等,逐项列明各项建设内容及相应规模。
五、投资估算和资金筹措。依据建设内容及有关建设标准或规范,大致估算投资并汇总,明确资金筹措大致方案。
六、效益分析。对项目建成后的经济、社会效益及生态效益估计作出初步说明。
XXX
XXXXXXXXX(单位名称)
年 月 日(盖章)
(联系人: 联系电话:)
重庆市巴南区农业农村委员会办公室 2021年10月8日印发

巴南区政府网